
아마존은 파괴자로 불린다. 물론 이에 어울릴 만한 놀라운 실적도 어김없이 보여주고 있다. 지난 7월 26일(현지시간) 아마존이 발표한 2분기 실적을 보면 순이익만 해도 25억 3,000만 달러(한화 2조 8,000억 원대)에 이른다. 2분기 매출은 529억 달러에 달한다. 지난해 같은 기간 순이익이 1억 9,700만 달러였다는 점을 감안하면 상승폭은 상당하다.
아마존이 이 같은 순이익을 올리는 요인 중 하나는 AWS(Amazon Web Services)에 있다. AWS는 지난 2002년부터 아마존이 시작한 비즈니스 클라우드 컴퓨팅 서비스. 항상 25% 흑자를 유지하는 등 높은 영업이익률을 자랑한다. 올해 2분기에도 AWS 매출은 61억 500만 달러로 전년 동기보다 49%나 늘었고 영업이익은 16억 4,200만 달러로 84% 수직 상승했다. 물론 아마존은 AWS 외에도 광고 매출은 전년 동기보다 129%나 늘었고 프라임 회원을 통한 연회비 수입 역시 57% 늘어난 34억 달러를 기록했다.
분기마다 사상 최고치를 경신 중인 덕에 아마존 CEO인 제프 베조스는 지난해 블룸버그 억만장자 지수에서 한때 빌 게이츠를 누르고 1위를 기록하기도 했다. 물론 아마존 주가가 몇 시간 만에 조금 떨어지는 바람에 다시 2위로 내려앉았지만 당시 아마존 주가가 사상 최고치를 한때 기록하면서 아마존 주식 17%를 보유한 제프 베조스의 자산은 907억 달러까지 올랐다.
아마존은 매출 뿐 아니라 얼마 전에는 지갑을 열 필요가 없는 무인 매장인 아마존 고 2호점을 올해 안에 열 것으로 알려지는가 하면 음성인식 비서 기능인 알렉사를 탑재한 스마트 스피커, 제프 베조스가 소유한 민간우주기업 블루오리진의 민간 우주 여행 티켓 판매가 내년이 될 전망이라는 얘기까지 그야말로 디지털, 온라인과 오프라인이 융합되는 파괴적 혁신, 아마존드(Amazon’d) 시대를 전 세계에 각인시키고 있다.
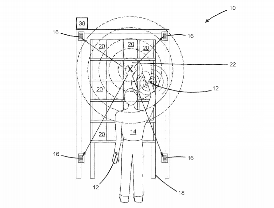
이 같은 기술 혁신을 이끌 기반 격인 특허 출원에도 적극적인 건 물론이다. 아마존은 최근 창고에서 근무하는 직원을 위한 증강현실 헤드셋 특허를 출원했다. 이 증강현실 헤드셋을 직원이 착용하면 화살표 등을 통해 내비게이션 역할을 할 수 있다. 거대한 아마존 창고에서 직원이 상품을 찾아야 할 때 최적의 경로를 알려주는 것. 그 뿐 아니라 중앙 센터에서 이동 중인 직원이나 멈춰 있는 직원에게 시각적인 지시를 표시할 수도 있다. 그런데 이 같은 아마존의 특허에 대한 목적이 위험할 수도 있다는 지적도 나온다.

사실 증강현실 헤드셋을 쓸 장소로 지목한 아마존 창고의 경우 오래 전부터 악명이 높다. 아마존 창고는 엄청난 규모에 수많은 상품을 진열하고 있다. 사용자가 온라인상에서 구입 버튼을 누르면 창고 근무자는 곧바로 상품을 꺼내 포장, 배송까지 모든 과정을 24시간 안에 끝낸다. 그 탓에 아마존 창고의 근무, 노동 환경은 까다롭고 가혹하다는 비판을 받아왔다. 이곳에 잠입 취재를 한 보도를 보면 화장실이 수백 m나 떨어져 있는 탓에 직원들이 페트병에 소변을 봐야 할 정도라고 한다. 창고에서 상품을 발송하려면 근무자는 하루 10시간 16km에 달하는 거리를 걸어야 한다. 근무자의 모든 행동은 항상 모니터링되고 있어 1초라도 낭비되는 일이 있다면 이 같은 행위는 용서되지 않는다고 한다. 휴식 시간 초과는 해고를 의미할 정도다.
물론 창고 근무자 뿐 아니라 한 보도에 따르면 영국에선 아마존 상품을 배송하는 배달원이 하루 11시간 이상 격무에 시달리면서 200여 개가 넘는 할당량을 채워야 한다고 한다. 현지 교통 사정을 반영하는 게 아니라 배송 할당량을 채울 수 있도록 체크하기 위한 전용 태블릿을 지급해 운전자는 점심 식사를 할 여유도 찾기 힘들다고 한다.
실제로 과거 알려진 아마존 창고 내 직원을 대상으로 한 규칙 10가지를 보면 먼저 립스틱은 사용 금지다. 자사가 판매할 수 있는 상품을 직원이 쓰지 못하게 한 것으로 보인다. 다음은 껌도 반입 금지다. 음료는 물만 허용되는데 이를 위해 물은 투명 용기에 담아야 한다. 레모네이드나 소다 같은 건 안 된다. 또 포장지와 테이프를 너무 많이 써서도 안 된다. 상품 포장 자체를 감독하는데 직원이 적절한 양 이상을 써선 안 된다는 것. 작업이 지연돼서도 안 되는데 실제 창고에서 일을 할 때 직원이 일하는 흐름을 체크해 누가 어떤 작업에 들어갈지 확인한다고 한다. 다음은 병에 걸리지 않아야 한다는 것. 아프면 그 탓에 앞서 소개한 작업 지연 현상이 발생할 수 있다. 실제로 만성 기관지염을 앓았던 여성 직원이 계약 당시 해당 사실을 먼저 밝히지 않아 나중에 해고된 사례도 있다고 한다. 다음은 출퇴근 유예 시간은 7분이라는 것. 직원 출퇴근 시간은 분 단위로 체크한다. 이 시간을 넘으면 7분 안에 카드를 체크해야 한다고 한다. 또 직원끼리 교류도 경계한다고 하며 취급 상품 도난 방지를 위한 일환으로 현장에 들어가기 전에 착용하고 있던 손목시계는 풀어야 한다. 마지막은 지각은 안 된다는 것이다. 아마존은 늦었을 경우 지각에 대한 변명은 일절 받아들이지 않는다고 한다. 30분 지각은 0.5점, 1시간 지각은 1점, 무단 결근은 3점 감점이다. 이 10가지 규칙은 위반할 때마다 항목마다 1점이 감점되며 6회 위반하면 해고된다.
아마존은 직원에 대한 엄청난 데이터를 수집하고 있다는 보도가 나오면서 논란이 되기도 했다. 앞서 밝혔듯 휴식에 대해서도 엄격한 정책을 시행하고 있다. 휴식은 감봉이나 퇴사로 이어질 만큼. 화장실에 가는 시간조차 내기 어려운 아마존 직원 입장에서 현장 지시까지 가능한 증강현실 헤드셋은 생산성 향상보다 가뜩이나 가혹한 아마존의 근무 환경을 악화시킬 우려가 있다는 지적이 나온다.
아마존은 이런 특허 외에 직원 손의 움직임을 추적할 수 있는 팔찌형 장치에 대한 특허도 출원했다. 이 특허는 직원이 작업하다가 문제가 발생하면 피부에 직접 감각을 전달하는 진동 같은 피드백을 통해 지시를 준다는 내용을 담았다. 물론 이 같은 특허는 직원이 현재 사용 중인 핸드스캐너를 대신해 손과 눈을 이용할 필요 없이 상품을 찾을 수 있게 하려고 고안한 것이지만 아마존의 근무 환경을 감안한 우려가 벌써부터 나오고 있다.

아마존은 창고, 물류센터에서도 혁신을 진행 중이다. 지난 2012년 인수한 키바시스템(Kiva system)을 통해 창고 로봇을 만들어 2014년까지 이미 1만 5,000대 이상 도입했고 2015년에는 그 수를 2배 이상인 3만 대까지 늘렸다. 아마존은 로봇에 인공지능 기술을 접목하는 한편 드론 배송 등 라스트 마일 배송을 위한 기술 물류 혁신도 꾀하고 있다. 이런 덕에 미래에는 아예 현재 하나만 해도 축구장 몇십 배 크기에 달하는 물류 창고가 사라질 수도 있다는 얘기가 나오기도 한다. 아마존의 현재와 미래는 기술 혁신이 일궈낸 것이지만 열악한 노동 환경으로 일궈낸 과거는 여전히 이 거대 공룡의 그늘로 남아 있다.
![[StartupRecipe] 美 실리콘밸리에 스타트업 위한 증권거래소 오픈](https://startuprecipe.co.kr/wp-content/uploads/2020/09/WALL-scaled.jpg)

